Rasenmäher MAGNETO MODEL NO. 610689 PARTS LIST Ersatzteile
MAGNETO MODEL NO. 610689 PARTS LIST 23300 - Toro Walk-Behind Mower (SN: 5000001 - 5999999) (1965)

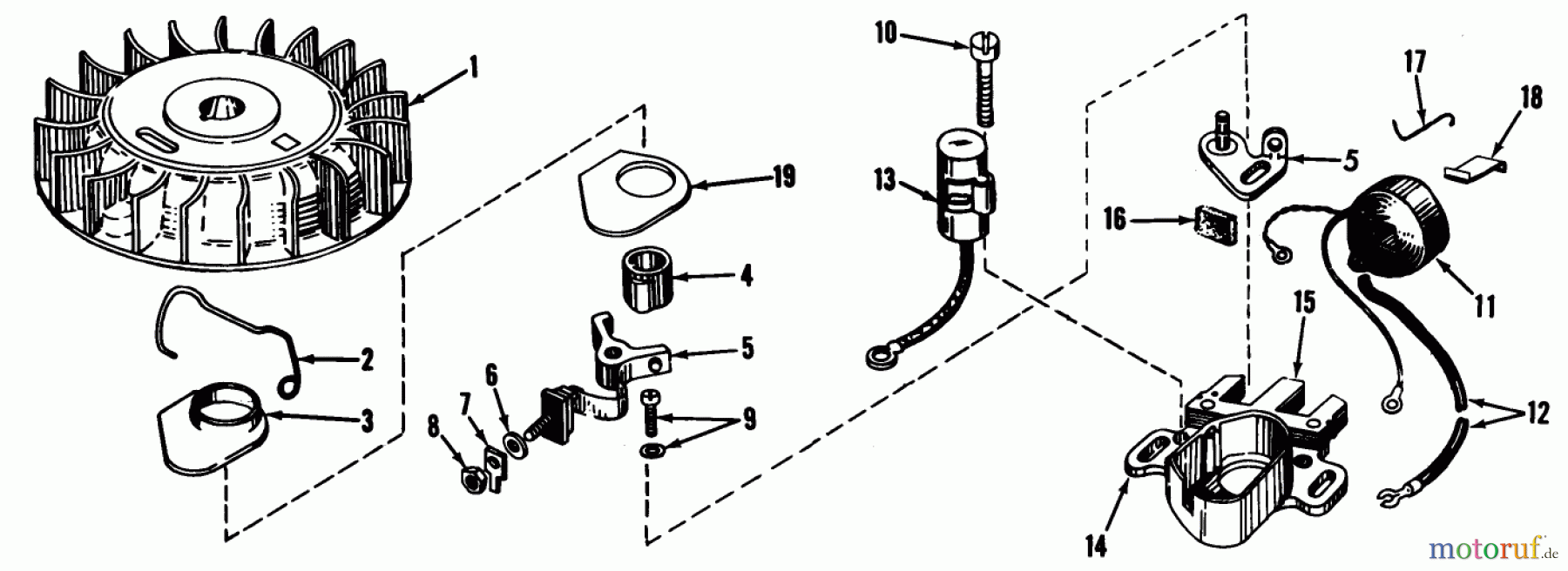
Hier finden Sie die Ersatzteilzeichnung für Rasenmäher 23300 - Toro Walk-Behind Mower (SN: 5000001 - 5999999) (1965) MAGNETO MODEL NO. 610689 PARTS LIST. Wählen Sie das benötigte Ersatzteil aus der Ersatzteilliste Ihres Rasenmäher Gerätes aus und bestellen Sie einfach online. Viele Rasenmäher Ersatzteile halten wir ständig in unserem Lager für Sie bereit.



