Zurück zu
>
Roth / TORO
>
Aufsitzmäher
>
Rider
>
8-25
>
372/70060
>
59000001
>
Rahmen
Ersatzteillisten für Toro Roth / TORO Rahmen
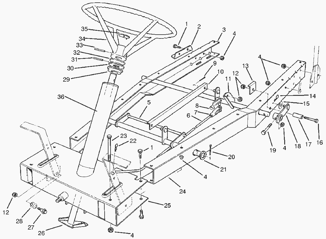
Pos.
Bezeichnung
Ersatzteilnummer
1
Schraube
322-3
2
Mount-Bearing, Axle
44-7140-01
3
Channel-R.H.
67-0520-01
4
MUTTER
3296-29
5
Hubwelle
67-0010-03
6
Kupplungsgestaenge
67-0430
7
Schenkel
282-27
8
9
Splint
3272-6
10
Bracket-Link, H.O.C.
76-3890
11
Tube W.A.-Support, Rear
67-0050-01
12
Mutter
3296-39
13
Brace-Stop, Deck
67-1510-03
14
Hairpin Cotter
3290-355
15
Scheibe
67-1460
16
Schraube
323-10
17
Buechse
68-8380
18
Lever W.A.-H.O.C.
76-3790
19
Schraube
46-2511
20
Splint
3272-23
21
Scheibe
3256-29
22
Sicherung
3290-250
23
Schraube
322-14
24
Channel-L.H.
67-0530-01
25
Frame W.A.-Front
67-0450-01
26
Lenkwelle
67-0830-03
27
Bolzen
67-0870
28
Wellenscheibe
3290-413
29
Buechse
67-0850
30
Washer-Steering
67-0860
31
Spannstift
32121-32
32
Distanzscheibe
67-0440
33
Spannstift
32121-78
34
Wheel-Steering
49-3242
35
Abdeckung
88-9840
36
Decal
76-4080
Kit-Loose parts
13-6049
Gebrauchsanweisungen
Toro
Roth / TORO
Aufsitzmäher
Traktor
Rider
HMR 1600
12-32 E
12-32
11-32
10-32 E
8-25
372/70122
372/70060
89000001
79000001
59000001
Getriebe (Peerlesss Modell 700-025)
Motor B&S (Modell-Nr. 195707-0121-01)
Starter (B&S Nr. 195707-0121-01)
Schneideinheit
Differential
Hinterachse
Elektro-Schaltplan
Motor
Getriebe & Gestänge (Fortsetzung)
Getriebe & Gestänge
Heckteil
Vorderachse
Sitz & Kraftstofftank
Rahmen
Vorderteil
49000001
39000001
6900001
110-4E
110-4
Mähwerke
Zubehör
Handgeräte
Robin
Impressum
(C) by motoruf