Zurück zu
motoruf
Warenkorb

Ersatzteillisten für Toro Roth / TORO Rahmen




Ersatzteilliste


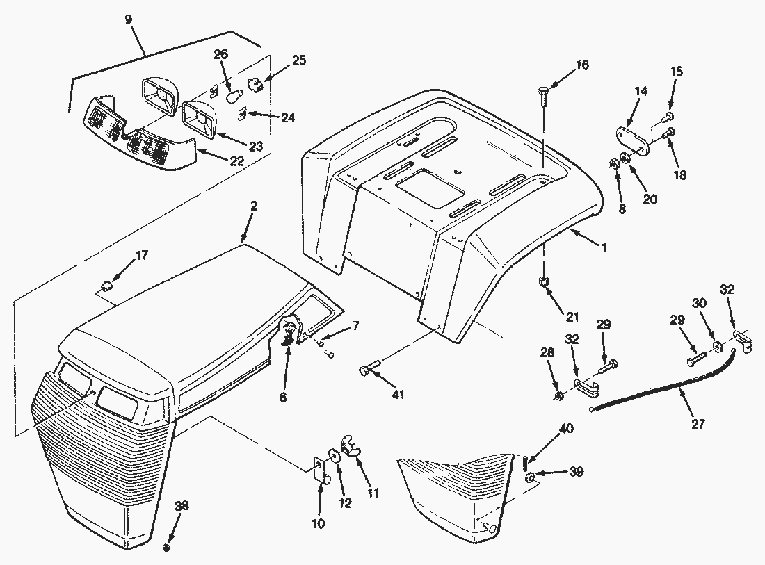
Pos.BezeichnungErsatzteilnummer
1Fender114389
2Hood & Grill116800
6Handle w/Bracket (109237)117344
7Pop Rivet117432
8Nut915551
9Lampe116591
10Clip-J111392
11Fleugelmutter32103-19
12Scheibe103995
14Reflector108547
15Poprivet109193
16Schloss Schraube3230-23
17Buechse938031
18Screw910808
20Lockwasher920079
21Mutter3217-6
22Light Bar116601
23Lampenhalter111684
24Stecker111685
25Birnenfassung116262
26Birne (2)7228
27Stahlseil115414
28Nut-Hex915740
29Machine Hd. Screw913111
30Washer-Backing112925
32Clevis115413
38Buechse5977
39Scheibe3256-23
40Splint3272-6
41Schraube3230-2
Gebrauchsanweisungen
Toro
Impressum
(C) by motoruf