Zurück zu
>
Roth / TORO
>
Handgeräte
>
Schneefräsen
>
zweistufig
>
622
>
624/38063
>
8900001
>
Vergaser Nr. 640081
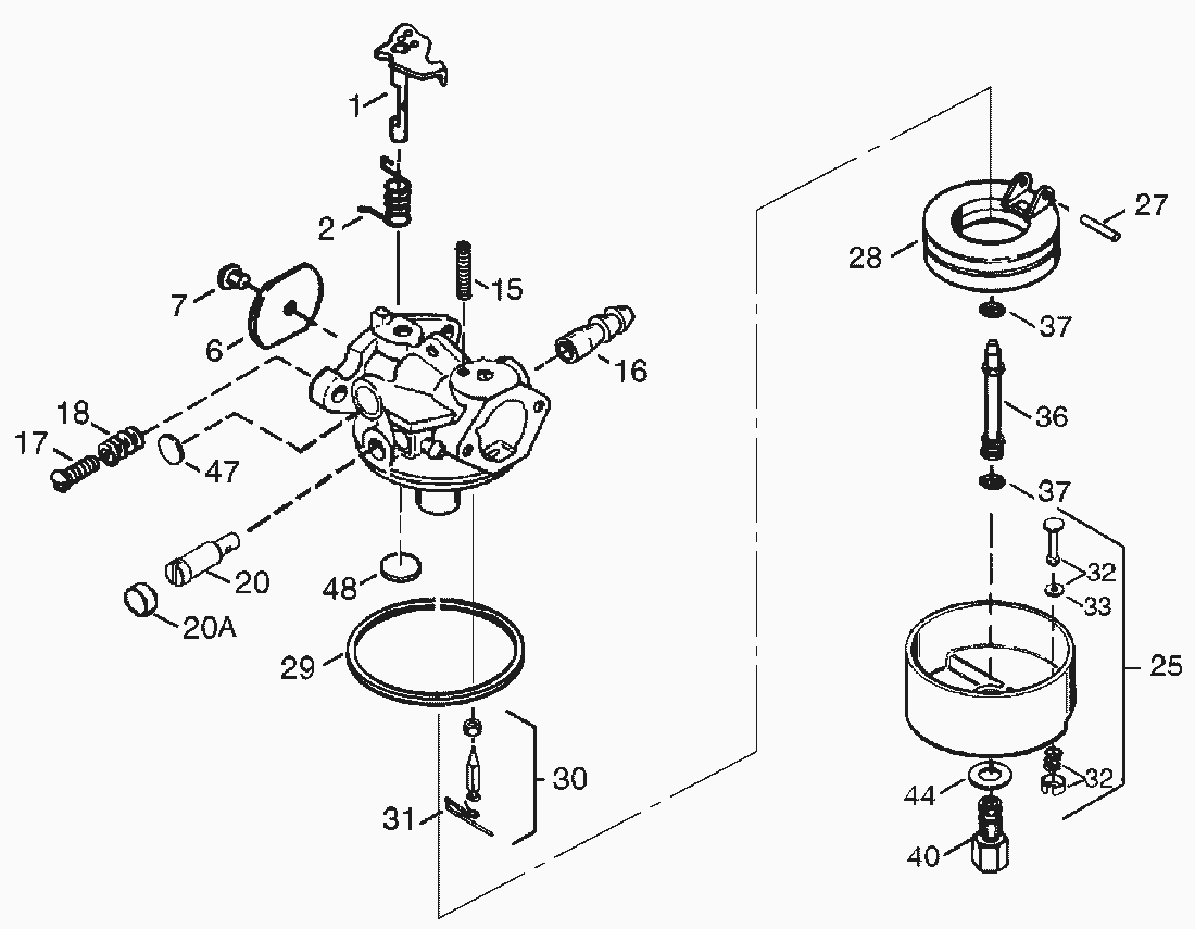
Ersatzteillisten für Toro Roth / TORO Vergaser Nr. 640081
Pos.
Bezeichnung
Ersatzteilnummer
1
Drosselklappenachse
31834
2
Feder
631767
6
O.RING13,9X2,6 +437
640070
7
Schraube
650506
15
Druckfeder
630735
16
Anschlussstueck
632164
17
Schraube s
651025
18
Feder
630766
20
Duese
640027
20
Duesenkappe s
640053
25
Schwimmergehaeuse
631951
27
Haltestift
631024
28
Schwimmer
632019
29
Dichtring
631028
30
Schwimmerventil
631021
31
Klemmfeder
631022
32
Drain Plunger Assembly (Incl. Ref.
27136A
33
Dichtung
27554
36
Duesenstock s
632745
37
O-Ring s
632547
40
Schraube s
640074
44
Dichtung
27110
47
Plug, Welch
630748
48
Stopfen
631027
Vergaser s
640082
Gebrauchsanweisungen
Toro
Roth / TORO
Aufsitzmäher
Handgeräte
Kehrmaschinen
Schneefräsen
Zubehör
zweistufig
1332 PowerShift
1232 PowerShift
1132 PowerShift
1132
1028 PowerShift
924 PowerShift
828 PowerShift
824 PowerShift
824 XL
824
724
624 PowerShift
622
624/38063
220000001
210000001
200000001
9900001
8900001
Elektrostarter Nr. 38-7590a (wahlw.)
Vergaser Nr. 640081
Starter Nr. 590742
Motor Tecumseh (Modell HSK60-76008C)
Holm rechts
Holm links
Antrieb (Fortsetzung)
Motor
Antrieb
Trommel
Trommel (Fortsetzung)
7900001
000000001
521
3521
einstufig
Sauger/Bläser
Rasenmäher
Robin
Impressum
(C) by motoruf