Zurück zu
motoruf
Warenkorb

Ersatzteillisten für Toro Roth / TORO Differential




Ersatzteilliste


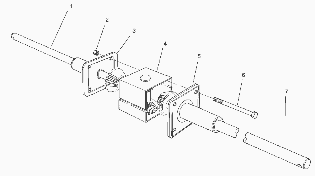
Pos.BezeichnungErsatzteilnummer
1Steckachse R.55-7762
2Mutter32152-1
3Achsschenkel55-7770
4Achsgehaeuse55-7780
5Achsschenkel55-7771
6Schraube322-22
7Steckachse L.55-7763
Differential56-9960
Gebrauchsanweisungen
Toro
Impressum
(C) by motoruf