Zurück zu
>
Roth / TORO
>
Aufsitzmäher
>
Traktor
>
523 Dxi
>
522/73551
>
8900001
>
Servolenkung unten
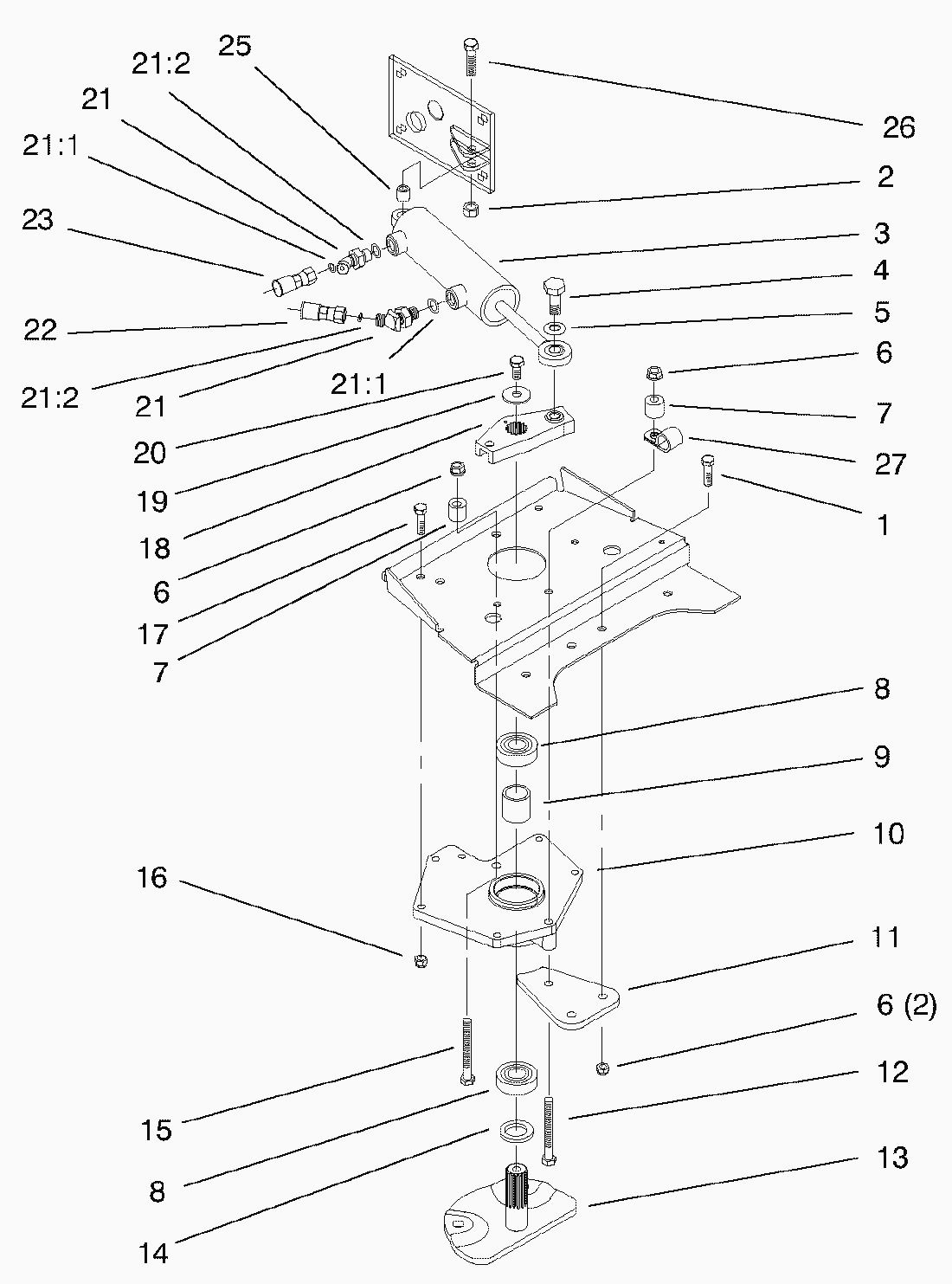
Ersatzteillisten für Toro Roth / TORO Servolenkung unten
Pos.
Bezeichnung
Ersatzteilnummer
1
Schraube
323-7
2
Nut-Lock
108881
3
Hydraulikzylinder
95-3965
4
Bolzen
94-7976
5
Scheibe
98-3087
6
Mutter
3296-39
7
Anschlagbuechse
94-7819
8
Lager
251-82
9
Distanzbuechse
94-2219
10
Lagerplatte
94-7581
11
Lenkungsplatte
94-7820-03
12
Schraube
323-15
13
Lenkarm
94-2142-03
14
Scheibe
3256-42
15
Schraube
323-10
16
MUTTER
3296-29
17
Schraube
322-6
18
Lenkarm
94-7556
19
Scheibe (5)
2844
20
Schraube
98-3052
21
Fitting-Hydraulic 45 DEG
95-4136
211
O.-Ring
237-42
212
Dichtung
237-21
22
Hydraulikschlauch
94-7946
23
Hydraulikschlauch
94-7947
25
Distanzbuechse
94-7907
26
Schraube
323-8
27
Clamp-R
98-2358
Gebrauchsanweisungen
Toro
Roth / TORO
Aufsitzmäher
Traktor
264-6
246 HE
244-5
212-H
212-5
17-44 HXLE
16-44 HXL
16-38 HXL
16-38 XLE
15-44 HXL
15-38 HXL
14-38 HXL
14-38 XL
13-38 HXL
13-38 XL
13-32 XLE
12-38 HXL
12-38 XL
12-32 XL
264 H
265 H
267 H
268 H
270 H
520 xi
520 Lxi
523 Dxi
522/73551
8900001
Stoßfänger & Haube Halterung
Lenksäule & Kraftstofftankhalterung
'Attach a matic' und Aufhängung
Servolenkung unten
Servolenkung und Verstellung
Befestigungen, Spindel, & Vorderachse
Hydraulik Getriebeachse
Hydraulik Getriebeachse (Fortsetzung)
Antriebswelle
Hydro-Aushebung - untere Gruppe
Hydro-Aushebung - obere Gruppe
Haube & Scheinwerfer
Grill & Seitenverkleidung
Armaturenbrett
Kotflügel, Fußauflage & Sitz
Kotflügel, Fußauflage, & Sitz (Fortsetzung)
Kurvenverzögerung hinten
Umschaltung
Feststellbremse
Hydraulikbetätigungen
Kurvenverzögerung vorne
Feststellbremse unten
Tempomat Betätigung
Kraftstoffsystem
Rad
Wassergekühlter Dieselmotor
Wassergekühlter Dieselmotor (Fortsetzung)
Elektrik
Motor
522/73590
Rider
Mähwerke
Zubehör
Handgeräte
Robin
Impressum
(C) by motoruf